位置:【微小店】-> 【功能导航栏】-> 【通用功能】->【营销中心】->【卡密储值】
概述:商家可以通过此功能,批量制作充值卡进行售卖,卡密可以自行打印或者印刷到实体卡片上,客户购买后可以自行操作充值。比较常见的使用场景,单位客户批量采购一批充值卡,进行福利发放或者赠送,个人充值时还可以为商家带来会员注册量,留存会员,充值余额也能刺激后续消费。
1、登录微小店后台点击功能导航-营销中心-卡密储值创建活动

2、开启卡密储值,新增卡密储值活动,可设置活动名称,面额,数量,有效期;

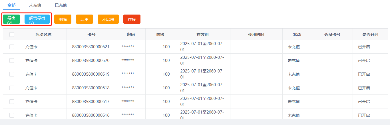
3、添加成功后,点击具体卡密储值活动前面的“详情”进入活动明细,点击导出/解密导出,可导出列表形式的卡号密码,将卡号和密码发给制卡厂家进行印刷制作,把兑换说明一并印刷到卡面上,或者直接打印纸质的卡密兑换卡,进行门店销售。

4、顾客购买后直接用手机微信进入会员中心–充值中心–卡密充值 输入卡号和密码给会员储值卡充值余额。

5、商家可在卡密储值已充值列表,查询使用情况;

文档更新时间: 2025-12-09 07:39 作者:zhouxiao