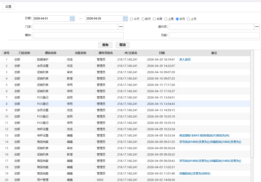
目录 搜索 天店星锐Pro·学习指南天店星锐Pro·后台管理新手指引 ❤使用须知注册&登录桌面首页营运档案档案设置商品设置门店管理区域管理从云库建档仓库管理多包装设置包装重量设置微商店多规格商品部门信息基础信息商品类别商品档案商品云图库商品类型说明进&销项税说明采配模式说明商品调价商品组合商品品牌商品单位基础代码商品自定义属性商品课组批量修改商品属性商品标签供应商管理供应商档案供应商生命周期供应商转经营方式商品转供应商商品转供应商单商品供货管理分店经营新店商品模板单分店商品配置单门店商品配置新品申请新品审核商品生命周期门店商品上下架商品查询商品综合查询商品调价查询组合商品查询门店商品查询卖场卖场设置销售设置提成设置思迅Pay设置银行接口设置Pos机支付设置自助设置智慧大屏投屏列表投屏付款方式POS登记营业员零售查询营业概况流水报表商品让利营业员提成异常流水报表收银员异常操作销售汇总门店销售汇总类别销售汇总品牌销售汇总供应商销售汇总商品销售汇总课组销售汇总交班对账收银查询收银对账收银员交接班缴款单长短款报表自定义支付查询收银日报会员会员设置会员设置积分设置POS充值授权操作员前台充值授权充值优惠规则会员信息会员档案批量修改会员会员卡维护会员类别会员批量制卡积分储值礼品管理积分兑换积分清零积分充减会员充值积分转储值批量充值批量积分冲减批量积分转储值会员查询会员生日会员消费明细积分业务查询储值业务查询零钱包业务查询会员充值汇总储值卡消费查询会员消费分析(敬请期待)寄存取货查询(敬请期待)项目次卡(敬请期待)次卡方案项目定义项目方案项目查询项目批量充值项目充值查询项目消费查询项目提成查询次卡消费查询收费会员Plus会员方案Plus会员档案Plus会员查询分销员子会员查询分销提成方案分销提成单分销会员提成报表促销促销业务促销设置促销中心折扣促销特价促销买满送买满送(混合)特色活动促销列表促销进价促销扣补销售扣补计划单特进扣促销单多时段折扣促销促销查询促销进价查询促销销售查询促销扣补查询促销查询与终止单品促销查询多时段折扣促销查询营销业务礼券礼券包消费送券会员精准营销会员标签会员标签管理营销查询礼券分析优惠券发放明细短信发送记录库管货位库位货位代码设置库位管理商品库位管理货位类型商品存量指标库存业务库管设置领用单报损单组合拆分单库存调整单成本调价单转仓单盘点业务盘点批号预盘单库存盘点单盘点差异盘点报表盘点汇总业务查询转仓查询领用查询报损查询库存调整查询成本调价查询库存查询库存汇总库存查询库存分布查询出入库汇总报表出入库明细报表进销存报表月结进销存月报进销存日报批次业务批次有效期查询批次库存结存待冲销批次查询批次出库查询批次出库汇总批发批发设置批发设置提成设置基础信息批发客户区域批发客户档案批发业务员批发业务批发订单批发销售单批发退货单批发查询批发订单跟踪批发毛利汇总批发销售汇总批发提成客户销售汇总批发送货查询批发流水采配库管采购采购设置采购业务采购订单采购收货采购退货补货向导采购规则采购查询采购汇总采购订单查询供应商综合查询采购明细查询配送配送设置连锁配送设置要货预设模板补货向导配送向导配送业务要货单生成采配任务调拨收货单调拨出库单差异回调单差异补调单门店退仓单退仓收货单直配业务直配要货单直配订单直配收货单直配退货单配送报表要货查询调拨查询配送毛利调拨单据调拨明细配送单据跟踪直配查询配送率分析生鲜档案基础资料生鲜商品鲜榨商品日清商品传秤业务传秤设置电子秤设置部门类别传秤商品传秤单传秤任务生鲜特性日清单据商品分级、分割按个销售商品混售礼篮销售BOM配方(敬请期待)生鲜查询生鲜销售报表生鲜分析报表生鲜出品率报表加工(敬请期待)生鲜单据生鲜收货单生鲜报损单加工管理生鲜加工单生产损溢单加工报表(敬请期待)生产偏差汇总生产偏差明细生产损溢汇总生产损益明细财务合同基础设置账户代码账务管理其他收入单费用支出单资金出入查询合同管理供应商合同合同返利查询结算供应商结算供应商费用单供应商预付款单联营账款单代销账款单扣率代销账款单供应商对账单供应商结算单客户结算客户费用单客户预收款单客户对账单客户结算单门店结算门店费用单门店预收款单门店账款单门店对账单门店结算单结算查询供应商账款查询客户账款查询预收费用查询合同返利查询门店预收款及费用查询门店账款查询报表销售报表供应商销售查询联营账款查询代销商品销售查询扣率代销销售查询应付报表预付费用查询供应商到期对账供应商应付账款供应商结算查询促销扣补查询合同反利查询应收报表客户预收款费用客户到期对账客户应收账款客户结算查询门店预收费用门店账款查询凭证基础设置参数设置公共科目设置存货采购类科目设置销售收入类科目设置凭证管理凭证生成决策考核任务目标年度系数设置门店任务类别任务品牌任务课组任务考核查询门店任务进度类别任务进度品牌任务进度课组任务进度预警预警查询库存预警库存告警异常库存查询安全库存分析会员查询商品查询商品异常毛利商品异常成本商品异常查询无业务商品(敬请期待)分析销售汇总销售月汇总零售毛利汇总供应商付款方式汇总销售分析商品动销分析时段销售分析销售环比分析商品畅销分析类别汇总分析供应商汇总分析排行分析商品销售排行供应商销售排行会员分析会员增长分析会员品质分析近期消费分析经营分析客单分析笔单价分析综合毛利分析门店综合分析门店月销售分析年度经营分析数据洞察总部日报门店日报平台服务台销售按单退货会员积分兑换积分充减积分转储值批量充值会员充值查询商品查询(敬请期待)会员查询消费查询天店平台自助收银自助设置(Android)管店功能简介短信管理短信设置短信发送查询短信发送电子发票税号注册商户号二维码电子发票设置付款方式开票门店税号管理电子发票操作流程 全电发票操作流程金税盘/税控盘 & UKey操作流程全电开票日常认证操作指引常见咨询OCR识别账户管理门店设置OCR识别流程 外卖平台商务平台自助服务自助对账消息推送查询供应链设置服务中心应用中心系统系统业务系统设置商户资料头像设置账号绑定购买记录用户管理用户管理修改密码角色管理角色授权系统维护基础数据导入数据导出列表系统日志系统消息数据维护天店管家用户绑定批处理中心AI顾问场景应用线下促销案例折扣促销1、直接折扣2、买满一定金额折扣3、买满一定数量折扣4、阶梯折扣5、任选商品一定数量时折扣特价促销1、选择商品直接特价2、买满一定数量特价3、买偶数件时特价4、不同时间段不同特价5、套餐消费特价6、DM促销买满送1、买满一定金额赠送一定金额查看权限配置流程多仓库使用流程短信营销储值&赠送条件使用优惠券叠加使用说明星锐Pro·解决方案 暂无相关搜索结果! 本文档使用 MinDoc 发布 系统日志 位置:【系统】-> 【系统维护】-> 【系统日志】 查询用户在后台网页端的相关操作记录,默认查询本月。 如图所示 (1)单次查询日期为1个月 文档更新时间: 2026-04-20 08:22 作者:zhangyi
位置:【系统】-> 【系统维护】-> 【系统日志】 查询用户在后台网页端的相关操作记录,默认查询本月。 如图所示 (1)单次查询日期为1个月 文档更新时间: 2026-04-20 08:22 作者:zhangyi