位置: 【营销中心】 -> 【消费激励】 -> 【精准营销】
功能概述:商家根据指定人群,常用人群,自定义人群等条件精准定位消费者进行定向发券。
小程序上领取
1、在后台营销中心——消费激励中选择“精准营销”进行创建方案。
如图所示

2、填写基本信息并设置方案内容,包含方案名称,方案描述,适用门店,优惠券以及投放人群等。
优惠券:有菜品券和代金券两种;
若需要再小程序上领取优惠券,创建优惠券时是小程序发券选择是即可
投放人群:包含常用人群(可选择全部会员、30天内未消费会员、只消费一次会会员),指定人群(可手工指定会员),自定义人群(可根据会员的基本信息,账户信息或消费信息进行筛选会员)
如图所示


3、保存并投放活动,活动创建成功后默认是未投放的状态,需要点击投放并确认投放后优惠券可在小程序上领取,发放成功后也会有对应提示:“投放成功,优惠券’10元代金券’,可在小程序领用!”。
如图所示

4、小程序领取
配置入口:需先在【微餐厅设置】->【店铺装修模板】的“项目组件”中,添加“领券中心”业务入口。
如图所示

会员领取:会员进入“微餐厅”小程序,点击首页的“领券中心”入口,领取对应优惠券。
如图所示

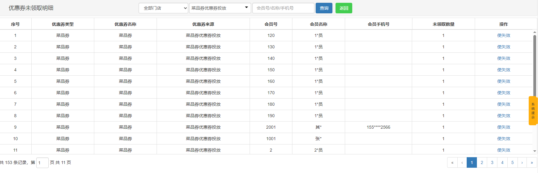
待领取明细
在后台精准营销待领取明细中点击即可查询到已经发放未领取的优惠券。
如图所示


直接投放
1、在后台营销中心——消费激励中选择“精准营销”进行创建方案。
如图所示

2、填写基本信息并设置方案内容,包含方案名称,方案描述,适用门店,优惠券以及投放人群等。
优惠券:有菜品券和代金券两种;
若需直接投放,创建优惠券时是小程序发券选择否即可;
投放人群:包含常用人群(可选择全部会员、30天内未消费会员、只消费一次会会员),指定人群(可手工指定会员),自定义人群(可根据会员的基本信息,账户信息或消费信息进行筛选会员)
如图所示


3、保存并投放活动,活动创建成功后默认是未投放的状态,需要点击投放并确认投放后优惠券将自动发送,发放成功后也会有对应提示:“投放成功xxx优惠券多少张”。
如图所示

优惠券投放明细查询
在后台优惠券管理中点击投放明细即可查询到已经发放的优惠券。
如图所示
